Boston Dynamics: от лабораторного эксперимента до символа эпохи новой робототехники
Boston Dynamics часто воспринимают как компанию из вирусных роликов про танцующих роботов, но за этим стоит тридцатилетняя история исследований в динамической робототехнике. Сегодня это часть Hyundai Motor Group и одновременно ориентир для отрасли мобильных и гуманоидных роботов. Рассказываем подробнее про ее историю и патенты.
Истоки: MIT Leg Lab и фокус на динамике движения
Корни Boston Dynamics уходят в MIT Leg Laboratory — исследовательскую группу, которая в 1980–1990‑е годы занималась моделированием и управлением шагающими системами. В отличие от классической промышленной робототехники, ориентированной на манипуляторы и конвейеры, Leg Lab концентрировалась на движении роботов в сложной, меняющейся среде.
В начале 1990‑х команда Boston Dynamics стали отдельной компанией, чтобы развивать результаты исследований за пределами академической среды. На раннем этапе основными заказчиками стали военные и государственные структуры США, прежде всего через программы DARPA. Компания занималась моделированием, симуляцией и шагающими платформами для логистики и разведки.
Фундаментальный принцип, который тогда заложили — динамическая устойчивость. Boston Dynamics с самого начала придерживалась подхода, в котором робот не «переставляет ноги по заранее размеченной траектории», а активно балансирует, реагирует на толчки, неровности и внешние воздействие. Это отличало ее от многих конкурентов, которые строили роботов скорее как «жесткие автоматы» с ограниченным диапазоном поведения.
В начальный период Boston Dynamics активно публиковала видео с тестами: роботов толкали, заставляли ходить по льду, прыгать и выполнять сложные маневры. Это не были коммерческие продукты, но они закрепили за компанией репутацию лидера в области динамической мобильной робототехники.
Смена владельцев: Google, SoftBank и Hyundai
В 2013 году Boston Dynamics привлекла внимание Google, который тогда активно скупал робототехнические компании в рамках стратегии «роботы будущего». Alphabet рассматривала Boston Dynamics как часть долгосрочного портфеля, однако не смогла быстро найти коммерческое применение технологиям, ориентированным на сложные шагающие платформы.
В 2017 году фирму приобрел японский SoftBank. Сделка вписалась в философию SoftBank Vision Fund — инвестиции в перспективные, но еще не полностью коммерциализированные технологии, включая робототехнику и ИИ. На этом этапе тоже основной акцент оставался на демонстрациях и пилотах, а не массовом бизнесе.
Следующий поворот произошел, когда в 2021 году Hyundai Motor Group договорилась о покупке контрольного пакета Boston Dynamics у SoftBank. Общая оценка BD составила примерно 1,1 млрд долларов.
Основные роботы Boston Dynamics: от BigDog до нового Atlas
BigDog стал своеобразной визитной карточкой ранней Boston Dynamics. Это крупный четырехногий робот, способный переносить груз по сложному рельефу, удерживаясь на ногах при ударах и скольжении. Проект был ориентирован на военные задачи, но в итоге остался на стадии демонстраций и прототипов, однако многие технические решения потом перекочевали в другие проекты.
Spot — первый по‑настоящему коммерческий продукт Boston Dynamics, вывод которого на рынок стал переходом от демонстраций к систематическим внедрениям. Это четырехногий робот, рассчитанный на инспекции, обходы территорий, работы в промышленной среде и задачах безопасности.
Ключевые особенности Spot:
-
способность ходить по лестницам, неровной поверхности и в стесненных пространствах;
-
модульный верх: можно устанавливать LIDAR, камеры, тепловизоры и другие сенсоры под конкретные задачи;
-
интеграция с программным обеспечением для маршрутизации, сбора данных и удаленного управления.
Spot используется на объектах энергетики, в нефтегазовой отрасли, на заводах и строительных площадках. Его отправляют туда, где человеку тяжело, опасно или дорого присутствовать постоянно.
Stretch — специализированный робот Boston Dynamics для складских операций. Он представляет собой мобильную платформу с манипулятором, оборудованным присосками и сенсорами, предназначенным для работы с коробками и паллетами.
Atlas долгое время был главным «героем» демонстрационных роликов Boston Dynamics: гуманоид, который учится ходить, бегать, делать сальто и сложные акробатические элементы. Первые версии создавались для DARPA Robotics Challenge и служили приближенной моделью человека для задач в опасной среде.
Недавно Boston Dynamics представила новый Atlas, задуманный как промышленный гуманоид, ориентированный на реальную работу в производстве и логистике. Подчеркивают, что новая версия рассчитана на взаимодействие с оборудованием, инструментами и объектами в условиях заводов, а не только на эффектные трюки.
Интеллектуальная собственность Boston Dynamics
Boston Dynamics выстроил плотный портфель патентов, защищающих как механическую конструкцию, так и алгоритмы управления, восприятие и прикладные сценарии. Также компания использует лицензирование и партнерства.
Основные направления патентной защиты можно разбить на несколько блоков.
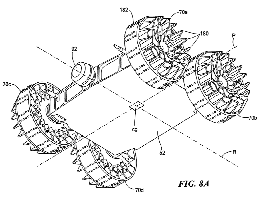
Интегрированные мобильные манипуляторы. Патент US20220305641A1 описывает робота с мобильным основанием, поворотным столом, шестистепенным манипулятором и направленными датчиками на «мачте восприятия». Ориентация датчиков управляется независимо, что позволяет совместно планировать движение базы и «руки».
Акцент делают на вакуумный захват, чтобы манипулировать объектами при сохранении устойчивости и компактной компоновки.
Интерфейсы. В некоторых патентах (как US20220305672A1) базу и манипулятор дополняют стандартными интерфейсами. Предусмотрены разные по совместимости интерфейсы для разных аксессуаров.
Также описывают датчики сцепки и логику контроля ошибок, если аксессуар подключен некорректно. Это превращает робот в платформу «под насадки», а не в узкоспециализированное устройство.
Самостоятельность. Патент EP3835004A1 описывает метод определения ориентации корпуса четырёхногого робота относительно земли и выбор последовательности действий ног (подтягивание/выброс, изменение потенциальной энергии) для вставания из неустойчивого положения.
Система по сути реализует планировщик манёвров подъёма с контролем успеха и повторной попыткой другими движениями.
Прыгающие роботы. В US8849451B2 года описан робот, который включает «шасси, двигательную подсистему, предназначенную для маневрирования шасси, прыгающий привод, прикрепленный к шасси и предназначенный для запуска робота, и по меньшей мере одну ногу, поворачивающуюся относительно шасси для наклона под выбранным углом траектории запуска».
Механизм ноги и бедра. Патент US7734375B2 описывает корпус, ноги по бокам и бедренный узел, способный к абдукции/аддукции (распластывание и «сведение»). В стопе управление реализовано через пружинные элементы (включая листовую пружину вдоль оси ноги), что снижает ударные нагрузки и адаптирует «ногу» к рельефу.
Гуманоид со «сверхчеловеческими» возможностями. Заявка US20250303589A1 описывает гуманоидного робота с набором неограниченно вращающихся суставов (бедро, спина, шея, плечи и др), что позволяет реализовывать «extra‑human» движения для повышения эффективности.
Контроллер строит план движения, используя непрерывное вращение отдельных суставов, чтобы быстрее менять направление или выполнять маневры, недоступные человеку.
Такой подход к патентованию формирует многослойную защиту: механика, приводы, контроль движения, восприятие и конкретные сценарии использования защищены одновременно, что значительно повышает барьер входа для конкурентов.
Помимо патентов, Boston Dynamics владеет рядом товарных знаков на свои бренды роботов и услуги, включая Boston Dynamics, Spot, Atlas, Stretch и другие названия продуктов.
Перспективы
Связка инженерной школы Boston Dynamics, капитала и индустриальных площадок Hyundai и плотного IP‑портфеля создает вокруг компании устойчивый «ров», который сложно пересечь даже крупным технологическим игрокам без значительных инвестиций.
Бренд Boston Dynamics стал фактическим синонимом «зрелищной продвинутой робототехники»: каждая новая демонстрация Spot или Atlas быстро разлетается по медиа и соцсетям, усиливая узнаваемость и поддерживая премиальное восприятие технологий компании. Это важный нематериальный актив, который дополняет патентный портфель и помогает монетизировать разработки. Вопрос: когда же мы все увидим продукцию предприятия на улицах городов?
О сервисе Онлайн Патент:
Онлайн Патент — цифровая система № 1 в рейтинге Роспатента. С 2013 года мы создаем уникальные LegalTech‑решения для защиты и управления интеллектуальной собственностью. Зарегистрируйтесь в сервисе Онлайн‑Патент и получите доступ к следующим услугам:
-
Онлайн‑регистрация программ, патентов на изобретение, товарных знаков, промышленного дизайна;
-
Опции ускоренного оформления услуг;
-
Бесплатный поиск по базам патентов, программ, товарных знаков;
-
Мониторинги новых заявок по критериям;
-
Онлайн‑поддержку специалистов.
Автор: Oksana_Nedvigina

