Методологи как сервис: как мы поддерживаем 60+ продуктовых команд внутри одной компании
Привет! Меня зовут Мария Белых, я занимаюсь управлением изменениями более 10 лет. Внедряла процесс управления выгодами для Газпромнефти, разработала методологию управления проектами для Правительств Ленинградской и Новосибирской областей, сформировала план управления проектом строительства завода по переработке целлюлозы. Параллельно погружалась в гибкие подходы к разработке продуктов, применяла их в своих проектах, прошла тренерскую аккредитацию в международном консорциуме ICAgile.
Последние 5 лет я работаю в SM Lab и в роли методолога продуктового подхода помогаю ИТ-командам повышать пропускную способность, сокращать время выполнения задач и избавляться от ложной нагрузки. Применяю канбан-метод, фасилитацию и командный коучинг.
В этой статье расскажу о том, как организовала внутренний сервис методологических консультаций и как управляю им с помощью тех же принципов и правил, которые транслирую командам.
Контекст: как работает продуктовый подход в SM Lab
Бизнес-процессы Спортмастера поддерживают более 200 информационных систем (ИС). Одна или несколько ИС представляют собой ИТ-продукт. Каждый ИТ-продукт развивает одна или несколько ИТ-команд. Работа с задачами в команде выстроена на принципах потокового производства, канбан-метода и практик бережливого производства. Входом в поток и рабочими процессами управляет Product Lead (PL). PL и команде помогают кураторы по компетенциям: аналитика, разработка, тестирование.
В упрощенном виде это выглядит так:
Как было раньше: работа методологов с командами
В начале продуктовой трансформации (6-7 лет назад) командам требовалась комплексная помощь по внедрению новых правил работы, и поэтому методологи прикреплялись к командам и проводили с ними до полугода. Команда должна была пройти чек-лист запуска — выполнить набор базовых требований для старта работы. По итогам погружения в контекст методолог составлял дорожную карту развития команды. Мы настраивали WIP-лимиты, договаривались о критериях DoR и DoD, определяли правила работы с техническим долгом, учили команды прогнозировать сроки выполнения задач и управлять ожиданиями заказчиков, анализировать дефекты.
Изменение уровня зрелости команды по итогам работы с методологом оценивалось с помощью диагностики, результатом которой были заключение о текущем прогрессе и перечень рекомендаций для достижения следующего уровня зрелости. Обычно команды выполняли эти рекомендации самостоятельно, уже без помощи методолога или с точечными консультациями.
Завершение трансформации: смена фокуса
Со временем продуктовая трансформация состоялась, и все меньшему числу команд требовалась длительная помощь методолога в переходе на продуктовый подход. При этом у системы управления появился новый запрос: нужно мониторить производственный процесс более чем шестидесяти продуктовых команд, выявлять и решать проблемы. Поток таких запросов сложно спрогнозировать и, соответственно, сложно планировать под них ресурсы.
Появилась необходимость в гибком инструменте для обработки точечных запросов.
Этим инструментом стал Консультационный центр (КЦ) методологии — сервис, в который может обратиться любой сотрудник компании, если ему нужна помощь в настройке рабочего процесса или решении проблемы в этой области. Ранее КЦ также существовал, но обрабатывал редкие запросы от команд, с которыми методологи уже завершили работу. В настоящее время это один из основных каналов поступления запросов к методологам.
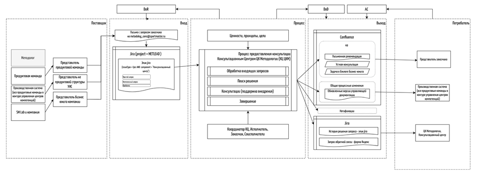
Как работает Консультационный центр
Инициатор запроса формулирует проблему в письме по единому шаблону и отправляет на специальный почтовый ящик. Очень важно описать цель запроса и критерии приемки, это помогает сфокусироваться на том, зачем сформулирован запрос, и подобрать правильные инструменты работы с командой.
Лидер КЦ (ваш покорный слуга) получает, уточняет и маршрутизирует запрос: возможно, его лучше обработать методологу, который недавно работал с этой командой. Или, если поступил запрос на проведение очной встречи — передать методологу, который находится в нужном городе.
Далее назначенный исполнитель связывается с инициатором, планирует работу и выполняет запрос. Результаты работы (рекомендации, план действий, новые правила, сценарий и материалы очной встречи) исполнитель публикует в Confluence. После выполнения запроса инициатор оставляет обратную связь в опросе, и на этом работа считается завершенной.
Этот процесс формализован, чтобы у всех участников было одинаковое понимание, в какой момент, от кого и какое действие можно ожидать. Мы много обсуждали эту схему на старте процесса, тогда она была наиболее полезна. Сейчас к ней почти не возвращаемся — правила установлены, действуем по логике и здравому смыслу.
Я горжусь автоматизациями, которые позволяют снизить количество механического ручного труда в этом процессе и не потерять ни один запрос, когда эти запросы приходят потоком:
-
В ответ на получение письма создается задача в Jira и приходит уведомление на личную почту всем методологам, а также нашему руководителю;
-
В ответ на создание задачи в Jira создается сообщение в отдельном канале корпоративного мессенджера. Под этим сообщением можно быстро скоординироваться, кто возьмет запрос;
-
При переводе задачи в мониторинг/внедрение заказчику автоматически отправляется письмо со ссылкой на обратную связь.
Принципы работы КЦ
Кроме описания процесса важно договориться о принципах, на основе которых мы строим работу.
-
Прозрачность. Мы поддерживаем актуальный статус задачи в процессе работы над ней, еженедельно обновляем комментарии.
-
Простота. Мы даем понятные и практические рекомендации, нет цели нагородить сложных моделей и «поумничать».
-
Краткость взаимодействия инициатора и КЦ. Работа над запросом не должна занимать более 30 рабочих дней.
-
Фокус на запуске действия на стороне заказчика. Нам важно передать инициатору запроса знания и навыки для решения подобных проблем в будущем, «научить пользоваться удочкой, а не давать рыбу».
-
Ориентация на ценностный результат. Решая конкретную задачу, мы держим в голове текущие приоритеты на уровне системы управления.
-
Преемственность задач. Исполнитель доводит задачу до завершения, за исключением случая явной передачи задачи другому исполнителю (с информированием всех заинтересованных сторон).
-
Учет контекста. Исполнитель должен выявить заинтересованные стороны и владельцев областей, в которых находится решение для запроса, и поставить их в известность о запросе и предлагаемом решении. Владелец области решения может запросить предоставляемое решение на ревью и предложить свои уточнения и исправления, — в таком случае задача должна быть передана на ревью, а правки — интегрированы в финальное решение.
Кто и с какими запросами приходит в КЦ
Наши основные заказчики (инициаторы запросов) — это Product Lead’ы, кураторы и участники рабочих групп управления поездами. Среди частых запросов:
-
диагностика текущего состояния команды, составление плана действий по решению выявленных проблем;
-
помощь в подготовке ретроспективы команды или поезда;
-
проведение ретроспективы;
-
проведение очной бизнес-игры по канбан-методу;
-
диагностика ролей в команде;
-
обучение анализу метрик;
-
прояснение смысла и правил проведения регулярных встреч в команде;
-
определение и установка WIP-лимитов;
-
запуск различных регулярных встреч — ретроспектив, встреч по анализу метрик, собраний по пополнению.
С какими препятствиями мы столкнулись и как их преодолевали
В ходе внедрения нового процесса и работы над запросами мы столкнулись с несколькими проблемами.
-
Мало сотрудников знают о существовании КЦ. Чтобы повысить узнаваемость, пиарим сервис всеми доступными способами: рассказываем о КЦ в рамках ведения тренингов в корпоративном университете, запускаем рассылки, собираем и публикуем фото- и видеоотзывы от инициаторов запросов на внутреннем видеоресурсе.
-
Сотрудники не знают, с какой проблемой можно прийти в КЦ. Чтобы облегчить старт обсуждения запроса для инициатора, мы составили Каталог сервисов — список задач, с которыми могут помочь методологи. Он разделен на 11 тематических блоков, для каждой активности указан формат (очно/онлайн) и длительность (более 4 часов/менее 4 часов).
-
Крупные запросы. Бывают случаи, когда для решения запроса требуется длительная работа с командой, «как раньше». Правило «работа над запросом занимает не более 30 рабочих дней» не выполняется. В таких ситуациях мы переводим задачу в стандартный эпик и берем в работу по мере появления емкости.
-
Запросы вне зоны компетенций и/или ответственности методологов. Инициатор не всегда знает, к кому обратиться со своей проблемой, и иногда к нам поступают запросы по ИТ-архитектуре и работе с крупными стратегическими бизнес-инициативами. Мы можем дать короткую консультацию в рамках своих знаний, а далее помогаем найти, куда правильнее обратиться.
-
Инициаторы не оставляют обратную связь. Решается только настойчивостью методолога, который хочет получить обратную связь о своей работе :) Напоминаем, пишем в личку, присылаем ссылку на опрос.
-
Отсутствие методолога в городе для очной встречи. Летний период очных встреч команд накладывается на период отпусков, поэтому в нужном городе может не оказаться методолога для проведения встречи. Тогда мы договариваемся с инициатором, что ведущим встречи будет он, а мы помогаем со сценарием и проработкой возможных рисков.
-
Конфликты с другими задачами. Кроме запросов в КЦ у методологов есть и другие задачи, и периодически возникают конфликты приоритетов. Это некритичная проблема, так как запросы обычно не занимают много времени, и, выполнив запрос, мы можем быстро вернуться к другим задачам. Если работа над запросом занимает больше времени, чем планировалось, всегда можно попросить помощи у другого методолога — передать задачу целиком или поделиться частью работы.
Обратная связь и метрики сервиса
Как любой сервис, мы улучшаем свою работу на основе обратной связи от инициаторов и объективных данных о нашем процессе.
Обратную связь от инициаторов мы собираем по 5 параметрам:
-
Удовлетворенность итоговым решением;
-
Скорость решения;
-
Детальность проработки решения;
-
Качество коммуникации в процессе решения;
-
Готовность рекомендовать КЦ коллегам.
Один раз в квартал я формирую отчет по работе КЦ, в котором можно посмотреть:
-
количество новых, завершенных и находящихся в работе запросов;
-
источники новых запросов (из каких бизнес-областей к нам обращались);
-
темы новых запросов, сгруппированные по категориям;
-
ссылки на результаты работ;
-
обратную связь по выполненным запросам.
Для более детального анализа используем дашборд в Jira. Он помогает оценить, сколько времени мы потратили на каждый запрос, и сколько дней запрос провел в различных статусах.
Бонус: лайфхаки, которые повышают качество сервиса
Решения, рекомендации, планы действий — это основная ценность, которую получают инициаторы запросов. Но есть мелочи, которые украшают процесс оказания сервиса и делают наших инициаторов еще более удовлетворенными.
Для запросов на очные встречи это:
-
Фотографии. На очных обсуждениях участникам некогда фотографировать друг друга, а если эту задачу возьмет на себя ведущий, то получаются яркие воспоминания.
-
Видеоролики. Двухминутный ролик сейчас можно сформировать в простых приложениях на смартфоне, а для команды это еще одна возможность вернуться к атмосфере живого общения.
-
Подготовленный «под ключ» реквизит и пространство для работы. Инициаторами запросов на проведение очных встреч с командой обычно выступают PL. Эти встречи проводятся в рамках командировок команд, и в это время у PL и так много организационных забот. Поэтому важно продумать все до мелочей, начиная от бронирования переговорной и заканчивая закупкой стикеров, маркеров и стаканчиков для воды.
Для любых запросов это:
-
Быстрая реакция. Я стараюсь связаться с инициатором как можно раньше (по возможности — в течение часа после получения запроса, максимум — в тот же день) и сообщить, что мы получили его запрос. До взятия запроса в работу может пройти время, но инициатор уже будет знать, что его запрос не потерялся и мы про него помним.
-
Обработанные материалы встречи. Всегда приятнее получить результаты обсуждений в виде текста и таблиц в Confluence, а не просто фотографий флипчартов. Это не требует большого количества времени у ведущего, зато сильно облегчает жизнь инициатору запроса.
Резюме: как запустить сервис внутреннего консультирования
Если вас заинтересовала эта статья и вы хотели бы запустить подобный сервис, вот что нужно сделать.
-
Выбрать лидера сервиса и команду исполнителей
-
Описать правила работы
-
Определить шаблон для описания запроса
-
Установить единое окно для входящих запросов (отдельный почтовый ящик)
-
Визуализировать работу над запросами
-
Популяризировать сервис
-
Собирать обратную связь, метрики и непрерывно улучшать процесс
Если у вас в компании есть подобный сервис, то было бы здорово обменяться опытом в комментариях. Пишите!
Автор: MariaBelykh

